Bu talimatın kapsa**** giren ve doğrulaması yapılacak olan manometreler; 12B regülatör çıkışlarında bulunan 600 mbarlık, müşteri ve bölge istasyonları çıkışında bulunan 600 mbar, 1 bar 6 bar, 10 bar, 25 bar ve 40 barlık skala değerlerine ve KL=1,6 doğruluk sınıfındaki manometreler, Şebeke, Bakım onarım ve Kalite Güvence Müdürlüğünde doğrulama maksadıyla kullanılan KL=0,2 – 0,6 doğruluk sınıfındaki referans manometrelerdir.
Tanımlar
Kalibrasyon: İçerisinden doğalgaz geçen boru hattının belli bir amaç doğrultusunda özel ekipmanlar kullanılarak delinmesi işlemidir.
Doğrulama: Boru üzerine direkt oturtulan altı bölümü kaynayacağı boru çapına göre biçimlendirilmiş düz boru şeklindeki fitting tiplerine verilen isimdir.
KL: iki parçadan oluşan, küre şeklindeki fittinglere verilen isimdir
Uygulamalar
Her türlü manometre doğrulama işlemine başlanmadan evvel İGDAŞ iş emniyeti talimatının öngördüğü gerekli emniyet tedbirleri alınır.
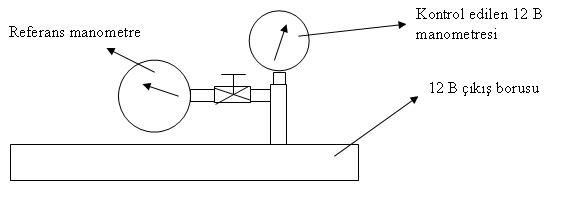
12 B Regülatör grupları çıkış manometrelerinin doğrulama işlemi
1. Doğrulama yapılacak manometre yerinden sökülür.
Üzerinde referans manometre takılı olan, by-pass seti, sökülen manometrenin yerine takılır. (Şekil )